时间:2017-06-20
想吃“奥利奥”,买到手的竟是“粤利粤”;想喝“雪碧”,拿到的却是“雷碧”;还有“思念”变成“恩念”、“康师傅”成了“康帅傅”…… 诸如此类“李逵”遇到“李鬼”的案例不胜枚举,这些案例既可笑也可恨。
由于山寨产品取名、选择包装的脑洞开得实在太大,正牌商家往往猝不及防。被逼无奈之下这些正牌商标品牌商家采用了“以牙还牙”的策略——先抢注一批商标让投机者无漏洞可钻。
于是你就能见到如下滑稽的场景:模仿“雪碧”的“雷碧”,模仿“星巴克”的“星巴客”,模仿“娃哈哈”的“哇哈哈”……这些品牌其实并不是山寨,而是大家所熟悉的那家公司注册的。
近日,为了保护自己的商标,大白兔注册了十几个近似商标:有大灰兔、大黑兔、大花兔、小白兔、金兔、银兔……很多人会将这些商标误认为是“山寨商标”。这里所谓的“山寨商标”是企业自己注册的“防御性商标”。此举是企业为了避免给自己的主要品牌造成干扰,同时也是为了避免消费者混淆主品牌。“防御性商标”被业内称之为“自己山寨自己”的说法倒是挺形象的。
大家小时候吃的正版大白兔奶糖是上海冠生园食品有限公司出品的,而好听商标网的小编在国家工商管理总局商标局系统中查询到,上海冠生园食品确实注册了很多类似商标,例如2014年注册的“巨大白兔”、“巨白兔”、“金兔”;1991年注册的“大黑兔”、“大花兔”、“大灰兔”、大红兔”。
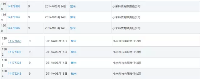
显然冠生园是不折不扣的色彩控,但色彩控也并非他一家。我们熟悉的小米公司同样是宗师级别的颜色控——我们知道有红米手机,但很少有人知道,小米已经把蓝米、黑米、紫米、橙米、绿米、黄米、桔米全都注册了!

以上都是可爱的颜控们,下面我们来说说wuli马叔叔。既然有阿里巴巴(爸爸)那么为什么不可以有阿里妈妈呢?既然有了阿里妈妈,为什么不可以有阿里爷爷、阿里奶奶?独生子女太孤单,再来一个阿里哥哥、阿里弟弟、阿里姐姐和阿里妹妹也是极好的;当然阿里宝宝显然也是不能少的,毕竟希望在下一代,而且有了宝宝整个大家族就更闹热了!

在中国人情世故文化的重要方面,非亲情的维系,通常要通过干爸干妈作为纽带。接下来我们就要说说老干妈陶华碧了,但这显然远远不够,我们的老干妈很有先见之明将相近的商标诸如:老干爹、老干爸、老干娘、干儿子、干女儿、老姨妈等都注册了。
繁杂的色彩,还有七大姑八大姨复杂的关系,是不是已经把你绕晕了?下面我们看点简单的。
对酒精爱好者来说,五种粮食发酵出来的佳酿已经足够吸引人那如果是六种粮食、七种粮食、八种粮食、十种粮食……甚至千种粮食酿出来的酒,又会是何种琼浆玉液?
不过五粮液是不会给其他人机会的,六粮液、七粮液、八粮液、千粮液等商标都已经是他的了。为了保险起见,二粮液、二粮春、十粮春……都得一网打尽!
如果说以上的案例,还带有逻辑思维,那以下的例子,只能用天马行空、鬼斧神工、灵光一现等词语来形容其神奇的脑回路了。

很明显能够看出图中几瓶饮料最后两瓶,正是“山寨”了可口可乐旗下的雪碧。但是,从包装颜色、图案、字体几乎和正版雪碧一样,稍不注意人们就有可能搞错。或许你很难相信,“雷碧”这个商标的所有者,真的就是可口可乐!对,就是你知道的那个可口可乐!

相比可口可乐,星巴克注册起商标来,真的只用丧心病狂、歇斯底里来形容了,他们可能翻遍了整本新华字典:星巴客、巴克星、巴星克、辛巴克、辛巴客、新巴特(绝佳的相声练习题材)……只有你想不到没有他做不到的。
“自己山寨自己”的“防御性商标”能不能起到作用呢?当然会有一定的效果毕竟自己企业注册了这么多的类似商标,使得其他企业就少了模仿山寨的机会。但是即使是一个企业能够注册更多的“防御性商标”,也不可能将所有相似的商标都注册完,可见仅仅依靠“防御性商标”不可能解决所有的问题。
我们退一万步来说,即使“防御性商标”能够发挥很好的防御作用,也不是一个正确的品牌保护路径的方式。通过“防御性商标”注册的火爆,我们看到的其实是品牌保护的无力。如果我们的执法力度够大保护制度更为健全,还会有如此多的“防御性商标”吗?“防御性商标”的出现也是无奈。
我们必须制定一个好的商标注册游戏规则来杜绝“恶意注册”“模仿注册”“山寨注册”。这一点监管部门是能够做到的。企业在注册商标的时候,这个商标是不是存在山寨恶意的性质是能够判断的。除此之外还需要加大对“山寨商标”的打击力度,执法部门严厉起来维护品牌以及产权才是对品牌最好的保护。
最后给大家看一看搜索关键词“耐克”弹出来的商标,你就能深刻感知这些大牌厂商有多苦、多无奈了:

你在生活中遇到了哪些奇葩山寨产品?也可以分享给大家哦。