时间:2017-07-31
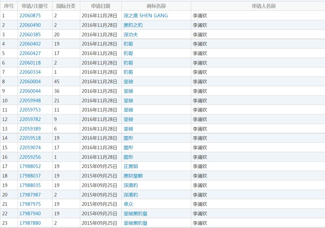
前不久,深圳卓众建材有限公司更名为深圳卓众之众防水技术股份有限公司。据了解,卓众防水更名主要是因为企业自身升级发展的需要,其次还有一个原因就是“卓众”商标被人抢注。好听商标转让网小编查询获悉,抢注“卓众”商标的李某某总共注册了61个商标,“卓众”、“黑豹”等多家知名防水企业躺枪。

工商总局官网查询显示,李某某注册的61个商标
在防水行业,因为商标被别人抢注被迫改名的企业,卓众不是第一家,估计也不会是最后一家。前两年我去江西思科采访,董事长袁总跟我说,“思科”的商标被别人抢注了,不得已只能注册了一个“思科贴”。不过刚刚在工商总局的官网查询,几个月前江西思科重新申请了“思科”商标,被抢注的那个“思科”显示为无效。至于江西思科是通过法律维权还是私下和解拿回的商标,尚未与袁总核实。

说白了,像李某某这种职业抢注别人商标的人,无非就是想钻钻法律空子,跟当事企业要点钱。而且免不了狮子大开口,但对企业来说,往往不想花这个钱,更加不想受这种气,索性就改名了。但对于一家品牌企业来说,改名的代价是非常大的。王老吉和加多宝的故事,相信大家都懂。
胃口得不到满足,抢注者往往就会想方设法鼓捣出和被抢注厂家一样的产品出来,并且以商标持有者合法身份公开和原企业抢市场。而事实上,抢注者往往不具备生产能力,只能找一下小企业贴牌加工,产品质量根本没有保障。所以也在这里提醒一下,“卓众防水”已经更名为“卓众之众防水”,以后市场上出现的“卓众防水”可能都是伪劣产品。

还有一个比较典型的案例,就是卓宝的商标维权案。卓宝在业内的知名度,应该说是人尽皆知,“卓宝”这个商标也遭遇过被人抢注的尴尬经历。据说,抢注者金某某曾提出跟卓宝索要600万,但卓宝没有答应,而是选择了法律维权。这个官司一打就是十年,当然最终卓宝胜诉,金某某一分钱也没有拿到。像卓宝这样的行业巨头,都花了十年的时间才打赢官司,商标维权的难度可想而知。
这系列事件,其实也暴露了整个防水行业的商标意识淡薄。作为行业唯一一家上市公司,也是知名度最高的防水企业,在商标注册这一块做的还是比较好的,但也有很多美中不足的地方。当然,我觉得东方雨虹在商标这块还有一大问题,就是行业内充斥着和“雨虹”同音的企业。


东方雨虹注册了几乎所有类别的“东方雨虹”商标
商标分类共分为45类,和防水行业相关的主要是第19类和第2类。所以,化妆品行业的“雨虹”和防水行业的“雨虹”是不冲突的。但是只注册本行业的商标,是一种小企业思维,真正大的企业品牌影响力是可以延伸到任何行业的。当然东方雨虹并不是不想注册35类11类和39类商标。最大的可能应该是,想注册的时候已经被别人注册了。
最后我们看一下其他的一些名企是如何保护自身商标的。以雷军的小米为例,小米公司不仅注册了所有类别的“小米”商标,为了防止山寨,还包揽了“大米、黑米、紫米、绿米、青米、小麦”等等相关的商标。每个公司都在进行商标注册保护自身商标权益,你还在等什么?便捷放心的商标注册平台就选好听商标转让网!