时间:2017-08-11
好听商标网据悉在2017年3月天天狼人杀宣布,第一轮千万级融资已经洽谈完毕。玩吧因狼人杀项目获得高榕资本数千万元A轮融资。“狼人杀”APP也完成了百万级的融资项目。在游戏行业融资寒冬的背景下,“狼人杀”的融资案例格外亮眼,俨然已成为投资圈里的宠儿。而在App Store的社交专区排行榜中,《狼人杀》APP、《饭局狼人杀》位列四、五位,前三位则是QQ、微信和微博,狼人杀在社交领域的火爆也印证着资本的毒辣眼光。
《欢乐狼人杀》作为“狼人杀”的入局者之一,借助《快乐大本营》等综艺节目的宣传迅速火爆,近期更是斥巨资赞助《极限挑战,风头强劲。近期,腾讯(《饭局狼人杀》)、网易(《梦幻狼人杀》)两大巨头也将进入“狼人杀”战局,战火一触即发。

在“狼人杀”火爆的背后,各方对于“狼人杀”商标的争夺已逐渐白热化,各方互相异议、无效、撤销,局面非常复杂。另外,“狼人杀”是否已经成为通用名称、缺乏显著性,这也成为“狼人杀”商标的症结所在,大家所争夺的“狼人杀”商标也许仅仅是个幻影。
“狼人杀“商标布局情况——无一家成功注册游戏软件类别的“狼人杀”商标
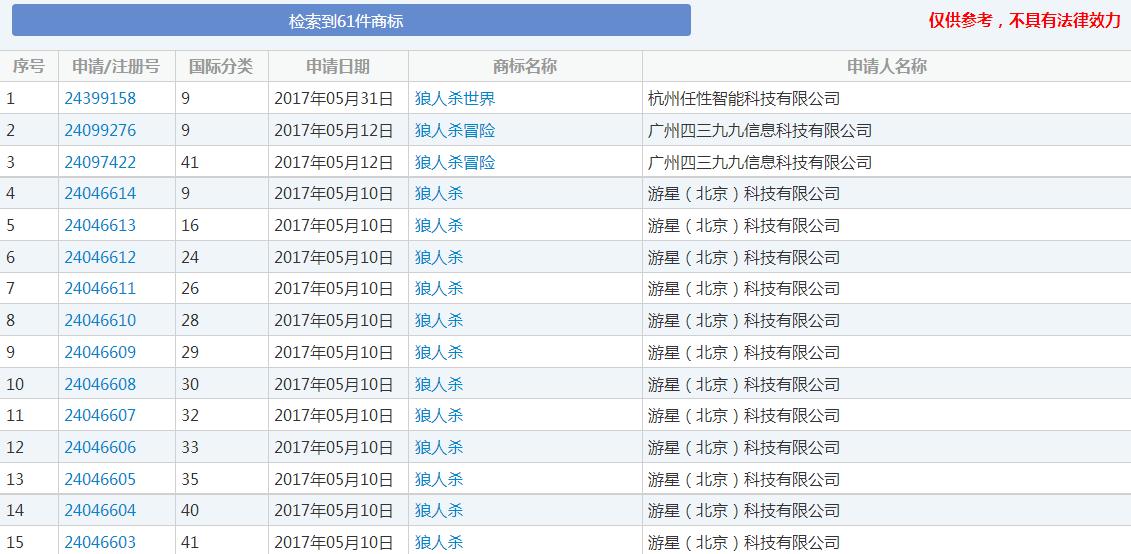
根据中国商标网的公开数据,目前申请含有“狼人杀”名称的相关商标申请共61件,数量可能还会不断增加,大部分商标均处于实质审核和异议过程。

根据现行法律,一般商标保护范围以商标注册的类别为准,商标类别范围内的予以保护,范围外的不予保护。在游戏软件领域,涉及的核心商标类别是第9类的“计算机游戏软件”、“计算机程序(可下载软件)”商品;第41类的“在计算机网络上提供在线游戏”;42类计算机软件设计、网站服务。
然而,在这三个涉及游戏软件类别上,目前为止没有任何一家公司成功注册“狼人杀”商标。也就是说,如今使用“狼人杀”名称的在线社交游戏(如“天天狼人杀”、“饭局狼人杀”、“狼人杀”APP)都不存在商标侵权,各方都能使用“狼人杀”名称。
“狼人杀”是否可以成功注册商标
虽然大家都在申请“狼人杀”商标,但“狼人杀”是否已经成为通用名称、缺乏显著性,这也成为“狼人杀”商标申请的症结所在。
我国商标法第十一条规定:下列标志不得作为商标注册:
(一)仅有本商品的通用名称、图形、型号的;
(二)仅直接表示商品的质量、主要原料、功能、用途、重量、数量及其他特点的;
(三)其他缺乏显著特征的。
对此,律师认为,“狼人杀”在纸牌、游戏软件领域已经成为一种推理游戏的通用名称,缺乏商标申请所必须的显著性。因此,“狼人杀”名称不应当被某一公司或个人垄断使用,不应当作为商标注册,原因如下:
一、从“狼人杀”游戏的来源来看,“狼人杀”一直是一种推理游戏的通用名称或俗称。

“狼人杀”游戏本身是一款由国外传入我国的桌面推理游戏,来源众说纷纭。比较公认的一种说法是苏联莫斯科大学心理学系教授迪米特里·达维多夫发明了一种警察与杀手互相隐藏身份甄别身份的游戏,也就是我们现在所熟知的杀人游戏;1997年,美国安德鲁·普洛斯金将欧美流行的“狼人”传说引入到杀人游戏中,并在欧美开始流行,出现了命名为Werewolves(《米勒山谷狼人》)的“狼人杀”游戏雏形。20年代由欧美留学生传入国内,将该类游戏翻译为“狼人杀”游戏。
因此,从“狼人杀”游戏的起源和发展来看,无论是“狼人杀”还是“Werewolves”,都是这类推理游戏的通用名称或俗称。
回过头来看看北京华彩公司申请的“狼人杀 WEREWOLVES”商标,“狼人杀”名称并非该公司首创,“WEREWOLVES”更是直接引用欧洲“狼人杀”游戏的原版译名,抢注痕迹较为明显。
二、从“狼人杀”游戏发展角度来看,“狼人杀”名称实际上已经成为通用名称。
商标之所以能够成为商标是因为商标可以在同类商品上识别来源,区分不同的商品提供者,而当商标没有显著性,也就无法识别来源,也就不应当成为商标。
如今,“狼人杀”已经从桌游发展到网络游戏、真人秀节目,绝大多数产品都是直接用“狼人杀”来进行命名,例如欢乐狼人杀、天天狼人杀、天黑狼人杀、全民狼人杀、饭局狼人杀、狼人杀Online、战旗LyingMan真人秀。而众多狼人杀游戏玩家也是将“狼人杀”认为是一种游戏规则的俗称,而不是将其视为某个公司或个人所特有的商品。因此,“狼人杀”实际上已经成为众多同行业经营者和消费者对于这类推理游戏的通用名称,已经无法识别商品的来源,缺乏商标申请所必须的“显著性”特征。

商标成为一种产品的通用名称而被撤销商标的现实案列也不少,如阿司匹林、蓝牙和优盘。比如“优盘”原来是深圳朗科公司在1999年成功注册的商标,使用在移动存储产品上。
而2002年10月,北京华旗公司认为“优盘”已经成为计算机领域的通用名称,申请撤销商标。商评委最终裁定认为“优盘”是计算机存储器的通用名称。从“优盘”汉字本身的含义来看,是对这类商品质量、功能、用途等特点的直接叙述,缺乏显著特征。深圳朗科公司也一直将“优盘”作为商品名称使用,客观上淡化了优盘作为商标的显著性。
同时,众多同行业经营者和消费者已经普遍将“优盘”作为一种新型的计算机移动存储器的商品通用名称加以使用。如果允许深圳朗科公司将该商标独占,就会妨碍同行业其他经营者正当合理使用这一名称,也会导致消费者的误认,因此最终裁定撤销“优盘”商标。而北京华彩公司在28类上申请的“狼人杀 WEREWOLVES”商标也同样面临着“优盘”商标的困境,存在着被无效或撤销的风险。
好听买商标网认为虽然“狼人杀”商标的乱局或许还将持续一段时间,但大家争夺的“狼人杀”商标也许仅仅是个幻影。