时间:2017-10-10

提起鹿晗相信大部分人心中对于近日发表的甜蜜暴击纷纷心碎,从该事件快速红遍网络中就能看出鹿晗本身的话题性,鹿晗至今出道已有六年,很多粉丝都一步步见证了他的成长与蜕变。好听商标转让网小编随手就可拿出几个火爆事迹来说明鹿晗的知名度和影响力。
比如:
2014年8月19日,吉尼斯认证鹿晗单条微博13,162,859条评论创吉尼斯世界纪录,成为中国中文社交媒体的第一个对外公布的吉尼斯世界纪录。
作为商标职业人的好听商标转让网小编来说,尤其非常关心“鹿晗”中文商标的注册情况。
一、细数“鹿晗”商标花落谁家
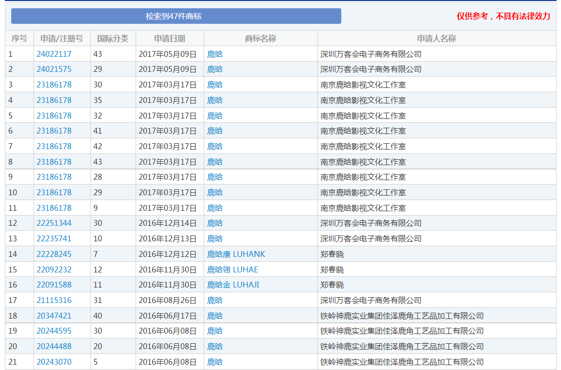
根据中国商标网的更新数据,目前共有47件“鹿晗”或者包含“鹿晗”的商标申请,最早商标申请日为2013年8月5日。
经过检索发现,这些商标的所有者分别是传成世纪(北京)商务服务有限公司、广州陌陌贸易有限公司、禾全实业(上海)有限公司、深圳万客会电子商务有限公司、仙居县跃马汽车用品有限公司、泉州市极客电子商务有限公司、深圳市一鹿平安文化科技有限公司、郑州佰邦电器有限公司、杭州艾叶服饰有限公司、叶勤雅、郑春晓、孙伟俊等公司或者个人,而鹿晗并不拥有上述24件已注册或者已初审商标。商标网流程显示,该些商标基本上处于异议过程中或者无效宣告过程中。

好听商标转让网特别注意到,鹿晗投资的“南京鹿晗影视文化工作室”名下已有商标申请54件,最早商标申请日为2016年12月30日,目前商标均在申请过程中。
根据全国企业信息网资料,目前全国已有10多家企业名称中包含“鹿晗”,经营范围覆盖到影视演出,化妆品,服装饰品,日用百货,家居用品,食品、饮料、酒、烟、日用百货零售,投资咨询,技术服务,室内外装饰装潢工程,蔬菜种植等领域。其中,2013年9月2日成立的鹿晗贸易(上海)有限公司是诸多企业中最早成立的,而鹿晗投资的南京鹿晗影视文化工作室则成立于2014年10月30日,稍晚于前者成立。

以上数据来自于中国商标网

以上信息来自于全国企业信息网

以上信息来自于全国企业信息网
二、短评
当下,越来越多的精明商家热衷于抢注知名人物商标,譬如娱乐类名人如“刘德华”、“周杰伦”、“章子怡”、“范冰冰”、“Angelababy”、“TFBOYS”、“鹿晗”等,体育类名人如“邓亚萍”、“姚明”、“易建联”、“刘翔”、“孙杨”、“傅园慧”、“宁泽涛”等,文学类名人如“莫言”、“韩寒”、“郭敬明”、“金庸”等,均发生过姓名被他人抢注成商标的案件。
关于他人未经许可,将知名公众人物姓名注册为商标的问题,既涉及到个人姓名权损害问题,也可能涉及对相关公众的误导问题以及产生不良社会影响问题。商标局、商评委和各级法院在行政确权和司法实践中对法律适用上存在不同的理解和判定,具体表现为,有的适用商标法第三十二条损害姓名权条款进行保护,不支持适用不良影响条款,如“邓亚萍”案、“易建联”案;有的适用商标法第十条第一款第(八)项其他不良影响的条款进行保护,如“刘德华”案、“郭晶晶”案、“李小龙”案、“莫言”案;有的适用商标法第十条第一款第(七)项误导公众的条款进行保护,如“葛优”案;有的则因为注册满5年超过以相对理由如姓名权为基础提起无效宣告申请的法定时限,商标评审委和法院不支持适用绝对理由条款如不良影响条款或者误导公众条款而未能得到保护,如“腾格尔”案。
就“鹿晗”商标被抢注案件,猜测鹿晗本人已经基于知名公众人物的姓名权等采取了相应的法律措施,包括提起异议申请、无效宣告申请等,小编也希望能够尽快扫除在先商标障碍,即便可能会经过异议、不予注册复审、无效宣告、诉讼等程序,相信坚持到底,凭借鹿晗的超高人气和律师团队的不懈努力,最终还是可以至少获得“鹿晗”商标在与娱乐活动领域密切相关的类别上注册的。

好听商标转让网建议对于姓名权的保护不仅要做好事后救济,还要做好事前的预防。如果知名人物能及早将自己的姓名注册为商标进行保护,一方面可以避免恶意抢注,另一方面拥有注册商标,也有利于对自身名誉的把控。
对于将“鹿晗”作为企业商号进行登记的问题,好听商标转让网认为鹿晗作为影视明星、知名歌手等具有较高知名度和影响力的社会公众人物,他人未经许可,将其姓名登记为企业字号,而且主营业务与鹿晗本人参与到的如娱乐服务、化妆品、服装等行业密切相关,确实难以摆脱搭便车、构成不正当竞争的嫌疑。