时间:2017-12-25
近日,一条网上被纷纷转发的提醒重视注册地址、避免被他人撤销商标的信息,引起了好听商标转让网小编的注意:

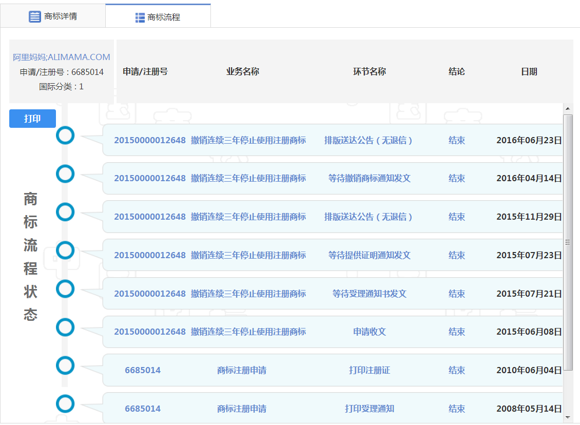
该事件中的主角正是阿里巴巴集团控股有限公司(下称阿里),其注册商标被他人撤销了。根据中国商标网的查询记录,阿里申请注册的商标总数,就达到一万余枚,可以说阿里集团的知识产权保护可谓是投入巨大。可是,阿里的大数据营销平台品牌“阿里妈妈”在第1类的相关商品项目上被人撤销而导致无效了。
且看中国商标网查询到的以下商标流程:

这个“阿里妈妈”商标,拿到商标证书三年以后,被他人提起注册商标三年不使用撤销申请(下称撤三)。国家商标局在没有退信的情况下,主动发布送达公告。就这样,马云没看见,阿里没看见,阿里的代理人也没看见,果断被撤销了。国家商标局的撤销决定送达给阿里。商标局再次主动在没退信的情况下发布送达公告,依旧没有引起注意。60天的公告期期满,商标被撤销的决定生效,阿里损失了后续复审和诉讼的所有救济程序,让人扼腕叹息。难道阿里没有找人做商标监测吗?这么重大的事件居然没有人发现。
在我国只要商标注册成功拿到注册证书,所有有关商标的后续事务都与原代理组织无关,商标局、商评委和人民法院有关该商标的所有文书都不再送达到原代理组织。如果原代理组织足够负责,及时通过人力或者计算机进行商标监测,是能够发现商标被撤销异动的,但是这个监测工作费时费力,还需要专业人员判断,一般属于付费法律服务的具体内容,而且此种主动监测服务也不是原代理组织的法定义务。

商标转让网小编就想问一句问题出在哪里?问题就出在阿里注册离岸公司的地址问题上。阿里实际为外资公司,注册地址为开曼群岛。根据商标法实施条例第六十六条的规定,“阿里妈妈”商标被他人提撤三以后,国家商标局会通知阿里限期2个月答辩,2个月内不答辩或者答辩不能证明使用且没有正当理由的,均会被国家商标局撤销注册商标。
国家商标局的撤三答辩通知通常是直接邮寄给商标注册人。阿里作为注册在开曼群岛的离岸公司,不仅收不到通知也不会有退信。商标局甚至网开一面,在没有收到退信的情况下,主动公告送达,给阿里60天加2个月的超长期限,但是阿里仍然错过了。
因此好听商标转让网提醒大企业们,公司若是不重视自己企业收发材料的注册地址,是可能导致严重后果的。阿里名下的1万多枚商标,虽然大家都知道在使用,虽然也很有名气,但是假如别有用心的人,花点钱提注册商标三年不使用撤销申请,阿里明显不会知晓自己商标被撤销的情况,不答辩就会导致最终的无效。这可能是马云没有想到的。