时间:2018-01-22
还记得“经常用脑,多喝六个核桃”这句广告语吗?在华唯商标转让网小编记忆中,小时只要打开电视机就会被这句广告语洗脑。这句广告语其实是由著名主持人“鲁豫”担纲代言的外在形象的六个核桃,是河北养元智汇的代表性产品,这款能够有效改善大脑疲乏状态的纯正核桃植物蛋白饮料,缔造了中国饮料史上“飞”一般的销售传奇,连续多年核桃乳饮料全国销量领先。

前几日,市面上疯狂流行另一款类似的饮料“六个石磨核桃”,这到底是不是又是一起傍名牌、搭便车的侵权行为的?根据华唯商标转让网小编的查询,“六个核桃”和“六个石磨”都是注册商标,“六个石磨”是由石家庄葫芦娃食品有限公司于2016年9月6日申请注册,并于2017年8月6日初步审定并公告,核定使用在第32类3202类似群核桃饮料(无酒精饮料)等。

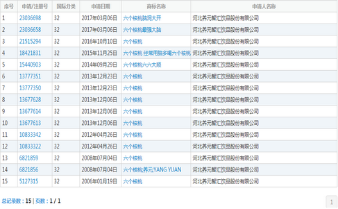
而“六个核桃”则是由河北养元智汇饮品股份有限公司申请注册的。

两家公司核定注册的商标均使用在核桃乳类别上,对此,养元智汇公司早在几个月前,就开始了对自己品牌的维权工作,包括对经葫芦娃公司授权的生产、经销商提起民事诉讼,对获得初审的“六个石磨”商标提出异议申请,对已经获权的“六个石磨”商标提出无效宣告申请等。
经过华唯商标转让网小编仔细研究对比,发现六个石磨核桃在无论是在包装设计上还是名称都与六个核桃极为相似,极易误导消费者,养元智汇公司早在推出六个核桃产品之际,为防止商标被侵权,还注册了“八个核桃、九个核桃”等周边词汇,商标意识比较强,避免了很多抢注和侵权事件。
此次事件,再一次为养元智汇公司敲响了警钟!