时间:2017-11-14
今年双十一狂欢节虽然大家依旧保持巨大热情关注各种折扣消息,但在这段时间最吸引人们眼球的,无疑是马云和李连杰、吴京等主演的电影《功守道》。
现已于11月12日零点正式免费首播,全长20多分钟。片中将会由马云饰演的主人公马师傅在“华山派”先后与泰拳、拳击、相扑等多个武术流派高手过招切磋。

马云在片中的演出非常认真。听说很多打斗场面都是亲自上阵。虽然这22分钟的片场并非大片标准,但该片的制作、演员绝对是华语功夫片的最顶峰。袁和平、洪金宝、程小东出任武术指导,李连杰监制(加参演),甄子丹、吴京、邹市明、朝青龙、托尼·贾、向佐、刘承羽等悉数参演,加上本片的片尾曲,是马云和王菲合唱的《风清扬》。这样一个超强黄金阵容,还都是零片酬!
好听商标转让网据悉,电影《功守道》旨在向对中国功夫做过贡献的前辈们致敬,向中国文化致敬,并与全世界分享中国文化。
对于此片其宏大的制作阵容当然不是好听商标转让网想要了解的重点,作为专业商标人的小编来说,此篇文章小编要讲的重点当然是在《功守道》在商标、域名等知识产权保护方面,是怎样做足文章的。
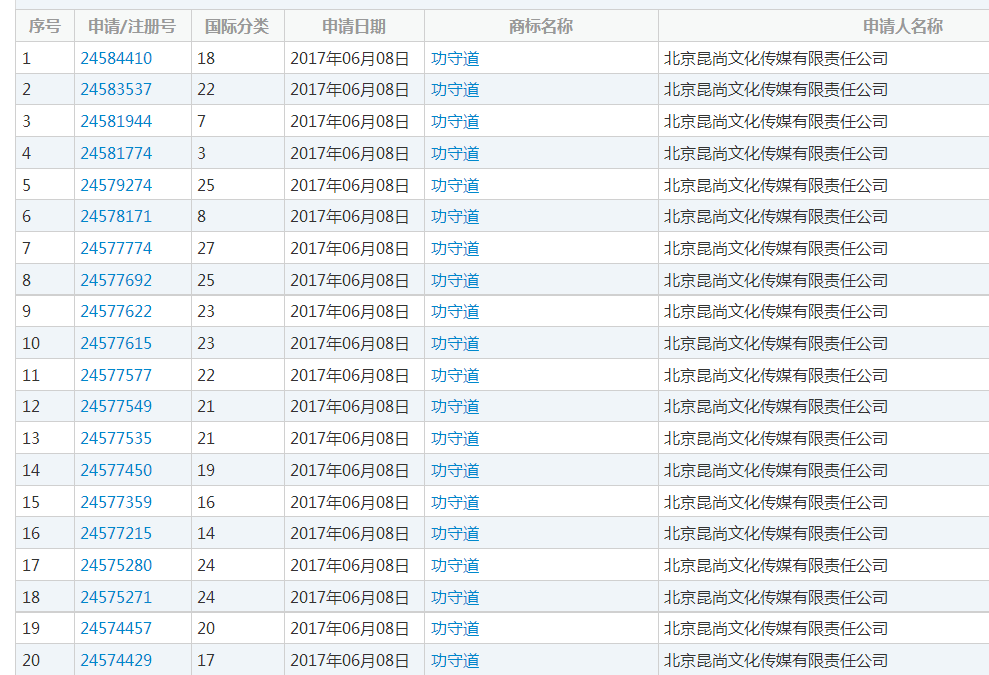
据好听商标转让网小编查询《功守道》三拼域名各大后缀均已被注册一空:gongshoudao.com/cn/net/com.cn 都同时注册于2017年6月7日,注册者均为“北京昆尚文化传媒有限责任公司”。无独有偶,在2017年6月7日和8日北京昆尚文化传媒有限责任公司还提交注册了38个《功守道》商标申请,可见《功守道》对知识产权保护的重视。

以上可以看到,北京昆尚文化传媒有限责任公司基本把《功守道》所有类别都保护了,至于能不能通过审核暂且不说,最基本的是电影上市后不会受到任何侵权,从另外一个角度来讲这也是大公司对商标的态度。
可能有人会问对于电影作品来说,为什么要申请注册商标,又能保护什么呢?因为电影作品在商业运作中,宣传工作会变得越来越重要。在宣传过程中,电影名称会被频繁提及,而且均会指向电影的发行方及制作方。这时,电影名称就起到了指示服务来源的作用,也就承担了商标的功用。
所以这要求我们若是涉及宣传对于商标注册需越早越好,而对未来的商业领域也要提前进行布局(即商标注册须全类保护最好),才不会在用时处处掣肘。尤其是泛娱乐时代,好听商标转让网提醒更要给知识产权留足相应的保护费用。