时间:2018-07-30
近有一款化肥很火啊!居然是和一个方便面知名品牌重名了,化肥名字居然叫做“康师傅”!而且商标都已经进入初审公告期了!现在这个年头,化肥和方便面都一模一样了,难道要我们在吃方便面的时候去想到化肥吗?是不是很多大牌都是后来者的模仿对象,反正我不管,我就是要模仿!
但是前提是即使你注册成功了,也不怕这些大牌来找你吗!
小编在中国国家商标局查询到,这款“康师傅”化肥和康师傅方便面是没有任何关系的!这款带着浓浓的鸡肉味(嘎嘣脆)的化肥商标是由“江苏好收成韦恩农化股份有限公司”申请的。
小编在天眼查上面看见此公司是2001年成立,2008年成立股份有限公司。
小编也有话说:作为一个10多年的企业,这么明显的傍名牌真的好伐?但是这家公司做的如此正大,都已经到了初审公告阶段了!
那么熟悉知识产权的各位大大都知道,初审公告是自公告之日起三个月内,任何人如认为初步审定的商标违反了《商标法》有关规定,均可向商标局提出异议,但是如果没有异议,那么这个商标就注册成功了!

这些傍名牌的商标注册案例数不胜数!相信很多在市面上都会看到“奥利奥”VS“傲利傲”,“雪碧”VS“雪霸”,“飘柔”VS“漂柔”,从食品到日化品,这些商标傍名牌的现象愈演愈烈!同名的商标一旦注册成功,你让正主怎么想?同时也会形成不正当竞争,扰乱市场秩序!
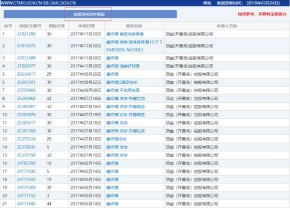
小编同时在中国国家商标局里面检索发现,有关“康师傅”商标注册是408项,其中很大部分是正主(顶益(开曼岛)控股有限公司)注册的。

这里给大家科普一下:康师傅控股有限公司及其附属公司主要在中国从事生产和销售方便面、饮品及糕饼,目前最大的股东是顶益(开曼岛)控股有限公司,其次第二大股东是日本三洋食品株式会社。如果有人要问,既然申请了400多个商标,而且也申请了第一类,为什么还能到审查公告阶段?那是因为是同一类别的不同小项而已!