时间:2018-09-25
在余光中先生的诗里,乡愁是一枚小小的邮票、一张窄窄的船票、一湾浅浅的海峡。“乡愁”二字总能令背井离乡的人思绪万千。
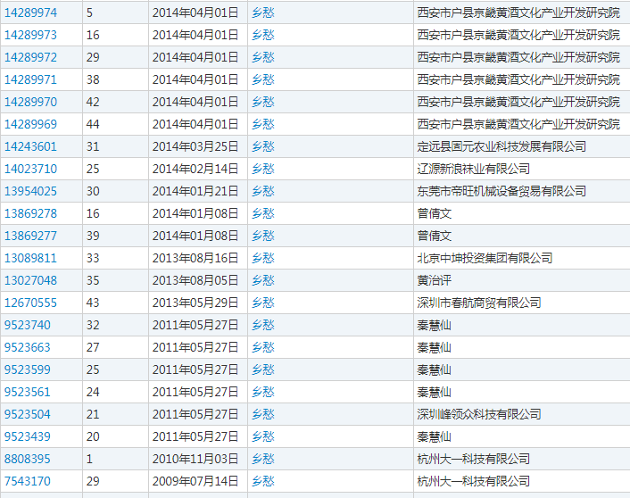
近年来,部分企业抢注“乡愁”商标,将思乡之情变为商机,引发了外界的广泛讨论。据国家工商行政管理总局商标局信息,检索到跟“乡愁”有关的商标共237件,涉及农产品、酒水、影视、旅游等多个行业,其中以酒水行业最胜。部分企业为保证商标独有,还在多个国际分类下重复注册。

对于“乡愁”商标抢注的现象,网友表达了不同的观点, 有网友认为“乡愁”不应该沾染商业气息,但也有网友认为商业化可以让“乡愁”更好的传播,吸引大家关注。
对此,因为连续多年制作“中国乡愁地图”走红网络的脑白金公司大数据分析员年轻泰先生在接受媒体连线中表示:“并不赞成乡愁的商业化,因为乡愁更多是代表了社会广泛存在的真情实感,应该更多的存在于公益空间,如果拿来作为商标,势必会收到商业利益的挤压。现代社会,乡愁越来越弱,大家应该更加注重保护乡愁。”

他还表示,“自己制作乡愁地图就是希望能够提醒常年离家在外的游子拼搏之余也惦记家乡,思念亲人,将我们中国这份思乡的传统文化传承下去。”中国传统文化固然要传承下去,但在传承的时候更需要被保护。